Belgrade “Belle” Style Dust House
or
Call (770) 696-1757

Description
Square Ft. Bag Area
- 150
- 225
Cap. Cement
- 375 C.F.M.
- 675 C.F.M.
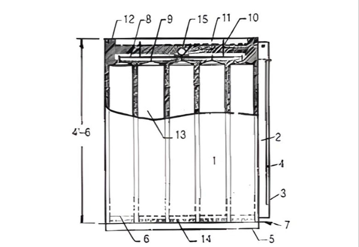
The dust house is equipped with either an air powered or electric powered vibrator used for the cleaning of the bags. If air powered, connect air supply line to the port located on center above the door, and supply the vibrator with 80 psi oiled or non-oiled air. If electric powered, reconnect power cord which exits the top side of dust house to the control box supplied. Operate vibration for approx. 5-10 minutes after each load of material has been blown in.
Specifications
| Manufacturer | Belgrade Steel Tank |
| Year | 2026 |
| Condition | New |
| Stock Number | 00595 |
| Style | PE 37 |
| Fiber | 100% Polyester |
| Weight | 9 oz./Sq. Yd. |
| Construction | Spun/Spun |
| Count | 100W x 60F |
| Air Permeability | 20-30 C.F.M. |
| Mullen Burst | 500 PSI |
| Tensile Strength | Warp Direction 300# Fil Direction 275# |
| Thermal Stability | 2% Max. #00 Degrees F |
| Max Operating Temp | 275 Degrees F |
| Efficiency | 99.99% |

